কনটেন্টটি শেষ হাল-নাগাদ করা হয়েছে: রবিবার, ২৭ জুলাই, ২০২৫ এ ০৪:৩২ PM

সিএম লাইসেন্স প্রসেস ফ্লো (বাধ্যতামূলক)

কন্টেন্ট: পাতা

সিএম প্রসেস ম্যাপ (বাধ্যতামূলক পণ্য)

বিএসটিআই’র নাগরিক- সেবার বিবরণ সম্বলিত প্রোফাইল ও প্রসেস ম্যাপ

বিএসটিআই হতে বাধ্যতামূলক (Mandatory)  মান সনদের আওতাভূক্ত পণ্যের সার্টিফিকেশন মার্কস (সিএম) লাইসেন্স প্রদান/নবায়ন :

 

সেবা প্রোফাইল

সেবা প্রদানকারী অফিসের নাম

দায়িত্বপ্রাপ্ত কর্মকর্তা/কর্মচারী

সেবা প্রাপ্তির স্থান

প্রয়োজনীয় সময়

 

বিএসটিআই এর প্রধান কার্যালয়, ঢাকা ও ০৫ টি বিভাগীয় শহর (চট্টগ্রাম, রাজশাহী, খুলনা, সিলেট ও বরিশাল)-এ অবস্থিত আঞ্চলিক অফিসসমূহ।

প্রধান কার্যালয়ের ক্ষেত্রে

আঞ্চলিক অফিসসমূহের ক্ষেত্রে

বিএসটিআই এর প্রধান কার্যালয়, ঢাকা ও ০৫ টি বিভাগীয় শহরে অবস্থিত আঞ্চলিক অফিসসমূহ

১৯-৯৪ কর্মদিবস

* বাধ্যতামূলক মান সনদের আওতাভূক্ত ১৫৫টি পণ্যের মধ্যে ৫৯টি খাদ্য ও খাদ্যজাত পণ্য। অবশিষ্ট ৯৬টি পণ্য রসায়ন, প্রকেৌশল, ইলেট্রিক্যাল ও ইলেক্ট্রনিক্স এবং টেক্সটাইল পণ্য। অধিকাংশ পণ্যেরই লাইসেন্স প্রদান/নবায়ন কার্যক্রম ১৯-৩৪ কর্ম দিবসের মধ্যে সম্পন্ন করা হয়।

** কিছু সংখ্যক রসায়ন, প্রকেৌশল, ইলেট্রিক্যাল ও ইলেক্ট্রনিক্স পণ্য পরীক্ষণের ক্ষেত্রে সময় বেশী প্রয়োজন হয়।

*** চূড়ান্ত লাইসেন্স প্রদান/নবায়ন কার্যক্রম সেবা গ্রহণকারীর যথাসময়ে ফি প্রদানের উপর নির্ভরশীল।

**** বিস্তারিত তথ্যের জন্য বিএসটিআই’র ওয়েবসাইট www.bsti.gov.bd দেখুন।

মহা-পরিচালক

পরিচালক (সিএম)

উপ-পরিচালক (সিএম)

সহকারী পরিচালক (সিএম)

ফিল্ড অফিসার (সিএম)

পরিচালক/আঞ্চলিক অফিস প্রধান

উপ-পরিচালক (সিএম)

সহকারী পরিচালক (সিএম)

ফিল্ড অফিসার (সিএম)

 

 

 

 

সেবা প্রদানের সংক্ষিপ্ত বিবরণ

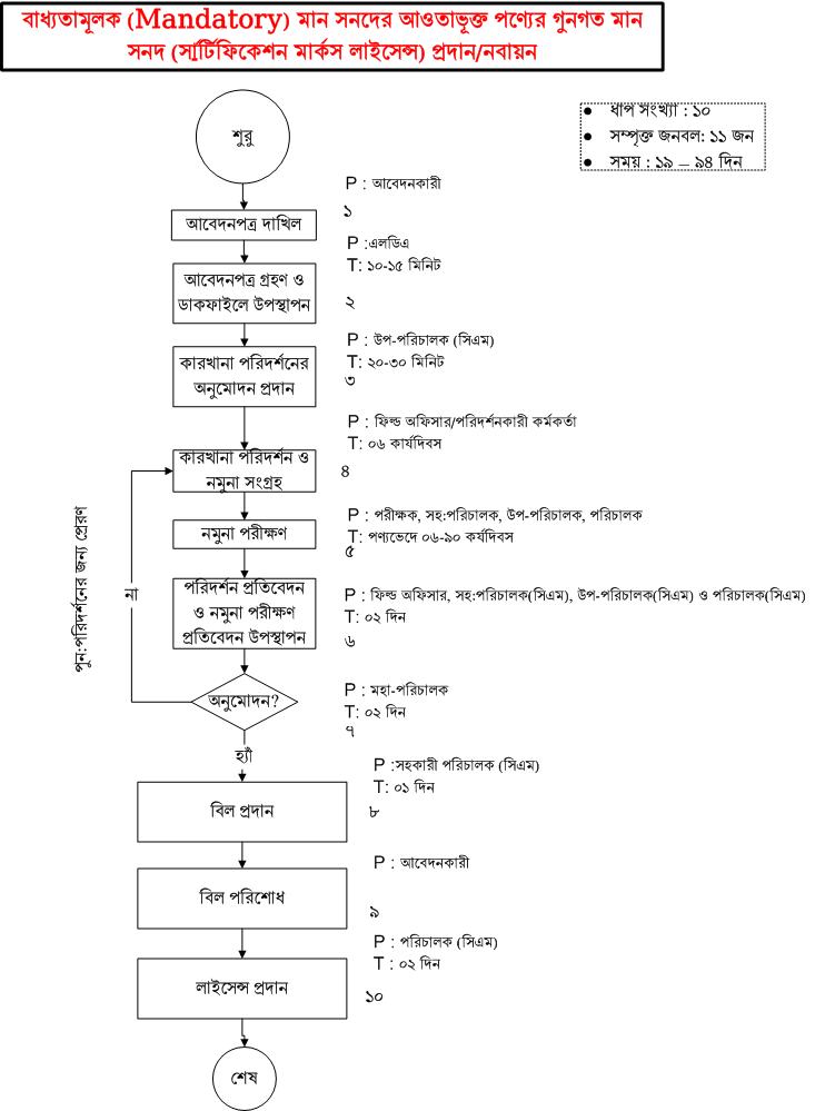
আবেদনকারী কর্তৃক বাধ্যতামূলক মান সনদের আওতাভূক্ত কোন পণ্যের অনুকূলে সিএম লাইসেন্স গ্রহণ/নবায়ন এর জন্য আবেদন পত্র দাখিল করেন। নির্ধারিত ফরমে সরাসরি এবং অনলাইনে আবেদনপত্র দাখিল করা যায়। পরিদর্শনকারী কর্মকর্তা/ফিল্ড অফিসার (সিএম), পরিচালক (সিএম)/উপ-পরিচালক (সিএম) এর অনুমোদনক্রমে সরেজমিনে কারখানা পরিদর্শন করেন। কারখানার স্বাস্থ্য ও পরিবেশগত অবস্থা বাংলাদেশ মানের সম পর্যায়ের হলে পরিদর্শন প্রতিবেদন প্রণয়নপূর্বক নমুনা সংগ্রহ করেন এবং সহকারী পরিচালক (সিএম) এর নিকট প্রতিবেদন দাখিল করেন। সংগৃহীত নমুনা সংশ্লিষ্ট পণ্যের বাংলাদেশ মান অনুযায়ী বিএসটিআই/বিএসটিআই’র মনোনীত পরীক্ষাগারে পরীক্ষান্তে উক্ত মানের সম পর্যায়ের প্রতিয়মান হলে সহকারী পরিচালক (সিএম) সুপারিশসহ উপ-পরিচালক (সিএম) এর মাধ্যমে পরিচালক (সিএম) বরাবর উপস্থাপন করেন যা মহা-পরিচালক এর চূড়ান্ত অনুমোদন প্রাপ্তির পর বিধি অনুযায়ী ফি আদায়ান্তে সিএম লাইসেন্স প্রদান/নবায়ন করা হয়ে থাকে।

 

আঞ্চলিক অফিস হতে লাইসেন্স প্রদান/নবায়নের ক্ষেত্রে আবেদনকারী কর্তৃক বাধ্যতামূলক মান সনদের আওতাভূক্ত কোন পণ্যের অনুকূলে সিএম লাইসেন্স গ্রহণ/নবায়ন এর জন্য আবেদন পত্র দাখিল করেন। নির্ধারিত ফরমে সরাসরি এবং অনলাইনে আবেদনপত্র দাখিল করা যায়। ফিল্ড অফিসার (সিএম),পরিচালক/আঞ্চলিক অফিস প্রধান/উপ-পরিচালক (সিএম) এর অনুমোদনক্রমে সরেজমিনে কারখানা পরিদর্শন করে কারখানার স্বাস্থ্য ও পরিবেশগত অবস্থা বাংলাদেশ মানের সম পর্যায়ের হলে পরিদর্শন প্রতিবেদন প্রণয়নপূর্বক নমুনা সংগ্রহ করেন এবং সহকারী পরিচালক (সিএম) এর নিকট প্রতিবেদন দাখিল করেন। সংগৃহীত নমুনা সংশ্লিষ্ট পণ্যের বাংলাদেশ মান অনুযায়ী বিএসটিআই/বিএসটিআই’র মনোনীত পরীক্ষাগারে পরীক্ষান্তে উক্ত মানের সম পর্যায়ের প্রতিয়মান হলে সহকারী পরিচালক (সিএম) সুপারিশসহ উপ-পরিচালক (সিএম) বরাবর উপস্থাপন করেন যা সংশ্লিস্ট আঞ্চলিক অফিসের পরিচালক/আঞ্চলিক অফিস প্রধান এর চূড়ান্ত অনুমোদন প্রাপ্তির পর বিধি অনুযায়ী ফি আদায়ান্তে সিএম লাইসেন্স প্রদান/নবায়ন করা হয়ে থাকে।

 

সেবা প্রাপ্তির শর্তাবলি

হালনাগাদ ট্রেড লাইসেন্স, প্রিমিসেস লাইসেন্স (খাদ্য পণ্যের ক্ষেত্রে), টিআইএন সনদ, ট্রেড মার্ক  রেজিস্ট্রেশন এবং কারখানার স্বাস্থ্য ও পরিবেশগত অবস্থা বাংলাদেশ মানের সম পর্যায়ের নিশ্চিতকরণসহ সংশ্লিষ্ট পণ্যের গুনগত মান পরীক্ষণের যথাযথ ব্যবস্থা থাকতে হবে।

প্রয়োজনীয় কাগজপত্র

□ নির্ধারিত আবেদন পত্র

□ আবেদন ফি বাবদ ১০০০.০০ টাকা (নতুন)/ ৫০০.০০ টাকা (নবায়ন)

□ ট্রেড লাইসেন্সের সত্যায়িত কপি

□ টিআইএন সনদের সত্যায়িত কপি

□ ট্রেডমার্ক রেজি: সনদের সত্যায়িত কপি

□ পরিবেশ ছাড়পত্র (প্রযোজ্য ক্ষেত্রে)

□ জেলা প্রশাসক কার্যালয় প্রদত্ত ইট পোড়ানোর সনদ (প্রযোজ্য ক্ষেত্রে)

□ প্রসেস ফ্লো ডায়াগ্রাম

□ মান সম্মত লেবেল

□ *** পণ্য ভেদে প্রয়োজনীয় কাগজপত্রের তারতম্য রয়েছে।

প্রয়োজনীয় ফিট্যাক্সআনুষংঙ্গিক খরচ

প্রতিষ্ঠান কর্তৃক দাখিলকৃত উতপাদন তথ্যের ভিত্তিতে বছরে ০.১০% হারে সর্বনিম্ন ১৮৭৫.০০ টাকা হতে সর্বোচ্চ ১৫০০০০০.০০ টাকা পর্যন্ত মার্কিং ফি প্রযোজ্য।

পণ্যভেদে পরীক্ষণ ফি ভিন্ন ভিন্ন। **** বিস্তারিত তথ্যের জন্য বিএসটিআই’র ওয়েবসাইট www.bsti.gov.bd দেখুন।

সংশ্লিষ্ট আইন-কানুনবিধি-বিধাননীতিমালা

বাংলাদেশ স্ট্যান্ডার্ডস এন্ড টেষ্টিং ইন্সটিটিউশন অধ্যাদেশ ১৯৮৫, (সংশোধিত আইন) ২০০৩

নির্দিষ্ট সেবা পেতে ব্যর্থ হলে পরবর্তী প্রতিকারকারী কর্মকর্তা

মহা-পরিচালক, বিএসটিআই এবং পরিচালক (প্রশাসন), বিএসটিআই, ঢাকা।

সেবা প্রদানপ্রাপ্তির ক্ষেত্রে অসুবিধা সমূহ

) নাগরিক পর্যায়

□ বাংলাদেশ স্ট্যান্ডার্ডস এন্ড টেষ্টিং ইন্সটিটিউশন অধ্যাদেশ ১৯৮৫, (সংশোধিত আইন) ২০০৩ সম্পর্কে জ্ঞানের সীমাবদ্ধতা।

□ সিএম লাইসেন্স এর জন্য আবেদনপত্র দাখিলে বিভিন্ন দপ্তরের ভিন্ন ভিন্ন কাগজ-পত্রাদি প্রয়োজন হয় বিধায় তা সংগ্রহে সংশ্লিষ্ট প্রতিষ্ঠানের অনীহা।

) সরকারী পর্যায়

জনবলের অভাব, জেলা/উপজেলা পর্যায়ে কার্যালয় না থাকা।

বিবিধ/ অন্যান্য

 

 

 

সিএম প্রসেস ম্যাপ (ব...

এক্সেসিবিলিটি

স্ক্রিন রিডার ডাউনলোড করুন